- 集團網站
- 選擇區域/語言
登錄
產品功能特點
1,采用高性能傳感器,1920×1080分辨率,
2,寬動態、背光補償,強光抑制,適合復雜環境監控
3,H.265 編碼格式兼容H.264編碼格式
4,逐行掃描CMOS,支持2D/3D數字降噪
5,支持區域遮擋,去霧,走廊模式,鏡像
6,支持移動偵測,視頻遮擋,周界,絆線
7,支持 BMP、JPG 抓圖
8,IP66防護等級
9,最遠紅外距離可達60M
| APG-IPC-8135Z-4/6/8/12I6 | ||
| 光學參數 | 傳感器 | 1/3" Progressive CMOS |
| 鏡頭參數 | M12接口 4mm / 6mm / 8mm / 12mm選配 | |
| 快門 | 1/25~1/100000 | |
| 光圈 | 固定 | |
| 照度 | 彩色0.01Lux @(F1.6,AGC ON) ,黑白0 Lux with IR | |
| 紅外距離 | 60米 | |
| 日夜轉換 | 雙濾光片切換同步圖像,自動,定時 | |
| 數字降噪 | 3D 數字降噪 | |
| 圖像參數 | 像素 | 1920×1080,1280*720 |
| 幀率 | 50Hz: PAL @ 25fps ;60Hz :NTCS@30fps | |
| 圖像調節 | 亮度,對比度,飽和度,銳度,色度等可調 | |
| 圖像設置 | 區域遮擋,寬動態,抗閃爍,去霧,鏡像,翻轉,背光補償,強光抑制 | |
| 字符疊加 | 支持通道名、日期時間、多行字符顯示、疊加字符大小位置可調 | |
| ROI | 4區域設置 | |
| 網絡功能 | 智能報警 | 移動偵測,視頻遮擋,周界,絆線,斷網,硬盤錯誤,IP 沖突,磁盤滿 |
| 支持協議 | TCP/IP,RTSP,RTCP,HTTP,DNS,DDNS,DHCP,FTP,NTP,PPPoE,SMTP,UPnP | |
| 接入協議 | ONVIF,GB/T28181 、主動注冊 | |
| 通用功能 | 三碼流,密碼保護,心跳 | |
| 壓縮標準 | 壓縮標準 | H.265 Main Profile H.264 Baseline/Main Profile/High Profile |
| 壓縮輸出碼率 | 64Kbps~16Mbps | |
| 通訊接口 | 1個RJ45 10M/100M自適應以太網口 | |
| 音頻輸入 | 1路RCA音頻輸入 | |
| 一般范圍 | 工作溫度 | -20℃ - +60℃,濕度小于95%(無凝結) |
| 電源供應 | DC12V±10% | |
| 功耗 | <5W | |
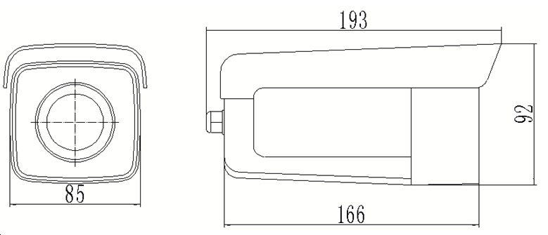
| 尺寸 | 193*92*85mm | |
| 重量 | 0.85Kg | |
| 防護等級 | IP66 | |


1
–電源接口
2
–音頻輸入接口
3
–網絡接口